KTR крепежные гайки
Использование KTR clamping nut крепежных гаек исключает скручивание винта и не уменьшает его прочность. Это достигается применением дополнительных нажимных винтов, равномерное завинчивание которых приводит к затяжке резьбового соединения.
Преимущества:
- Простота монтажа. Не нужен крупногабаритный инструмент
- Увеличивается нагрузочная способность соединения
Исполнения: KTR clamping nut
KTR крепежные гайки
КТР хитрогайка, KTR чудогайка, KTR крепежная спецгайка

Для простой и быстрой сборки крупных резьбовых соединений от М24 до М48
Все гениальное просто!
КТР крепежные гайки предназначены для использования в резьбовых соединениях от М24 до М48, взамен крепежных гаек по ГОСТ 1759—82.
Нарушение работоспособности резьбовых соединений, нагруженных постоянной и переменной силой, как правило, происходит из-за разрушения винтов.
В основном, из-за разрыва стержня винта по резьбе.

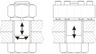
При затяжке резьбовых соединений с обычными* гайками, помимо растяжения, винт также скручивается моментом сопротивления в резьбе. Даже в случае качественно изготовленной резьбы и наличии смазочного материала на резьбовой поверхности это скручивание уменьшает прочность винта на 23 процента!
Использование КТР крепежных гаек исключает скручивание винта и не уменьшает его прочность. Это достигается применением дополнительных нажимных винтов 2, равномерное завинчивание которых приводит к затяжке резьбового соединения с винтом 1.
Особенности
- Для завинчивания используется обычный динамометрический ключ (до 100Нм), даже для крупных резьбовых соединений, таких как М42.
- КТР крепежные гайки выгодны в использовании (простой и быстрый монтаж, демонтаж, не требуется специнструмент).
- При затягивании соединения винт 1 нагружен только растягивающей силой (полное отсутствие скручивания винта, которое возникает в случае применения обычных* гаек)
- Идеальны для использования в стесненных условиях (например, крепления редукторов), т.к. не требуют огромных гаечных ключей.
- Предназначены для винтов 1 классов прочности 8.8 и 10.9
- Соответствуют по высоте нормальным крепежным гайкам по ГОСТ 1759—82
Технология сборки:
1. Завинчиваем «от руки» КТР крепежную гайку до выборки зазора в соединении.
2. Равномерно завинчиваем динамометрическим ключом дополнительные нажимные винты 2 моментом завинчивания из табл.1
|
КТР крепежная гайка
|
табл.1
|
||||||||||||
|
Типоразмер резьбы
|
Размеры, мм
|
Нажимной винт 2
|
Класс прочности 8.8 винта 1
|
Класс прочности 10.9 винта 1
|
Основная номенклатура
|
||||||||
|
D
|
DT
|
B
|
B1
|
s
|
k
|
Размер DIN EN ISO 4762 |
Кол-во
|
Момент завинчивания нажимных винтов 2, Нм |
Сила затяжки винта 1, Н
|
Момент завинчивания нажимных винтов 2, Нм |
Сила затяжки винта 1, Н
|
|
|
|
М24 х 3,0
|
52
|
39
|
36
|
20
|
3
|
2
|
М8
|
8
|
21
|
174000
|
30
|
249000
|
|
|
М27 х 3,0
|
57
|
42
|
41
|
25
|
3
|
2
|
М8
|
9
|
24
|
224000
|
30
|
280000
|
|
|
М30 х 3,5
|
65
|
48
|
43
|
25
|
3
|
2
|
М10
|
8
|
41
|
274000
|
60
|
401000
|
*
|
|
М33 х 3,5
|
68
|
51
|
48
|
30
|
3
|
2
|
М10
|
9
|
45
|
338000
|
60
|
451000
|
*
|
|
М36 х 4,0
|
80
|
58
|
50
|
30
|
3
|
2
|
М12
|
8
|
71
|
396000
|
105
|
586000
|
*
|
|
М42 х 4,5
|
86
|
64
|
55
|
35
|
3
|
2
|
М12
|
10
|
78
|
544000
|
105
|
732000
|
*
|
|
М48 х 5,0
|
90
|
72
|
60
|
40
|
3
|
2
|
М12
|
11
|
94
|
721000
|
105
|
806000
|
|
* гайки, соответствующие ГОСТ 1759—82
Подписи к рисункам
1-крепление фланца испытательного стенда, нагруженного крутящим моментом 100кНм
2-применение в муфте ветроэнергетической установки
3-возможна поставка в комплекте с винтом
За более подробной информацией обращайтесь к электронному каталогу, или нашим инженерам.
- Комментарии
